European Union
With DIRECTIVE 94/62/EC (https://eur-lex.europa.eu/legal-content/EN/TXT/?uri=CELEX%3A31994L0062), the so-called EU Packaging Directive, the European Union has laid the foundations for the sustainable handling of packaging. The objectives of DIRECTIVE 94/62/EC are the prevention of packaging waste, the reuse of packaging, as well as recycling and thus a reduction in the treatment of non-recyclable waste. The goal is to avoid or reduce the impact of packaging waste on the environment in order to ensure a high level of environmental protection.
#
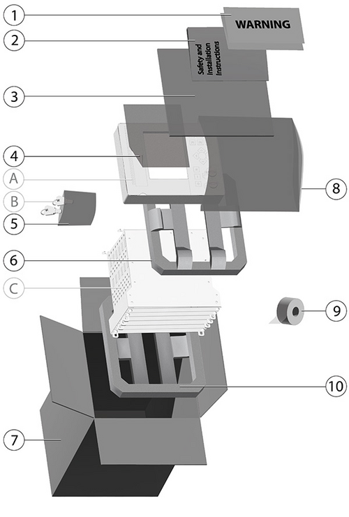
Products
A
SPRECON-E-PANEL (CP/AP modules) product
B
Keys for SPRECON-E-PANEL (CP/AP modules) product
C
SPRECON-E-C or SPRECON-E-P product
#
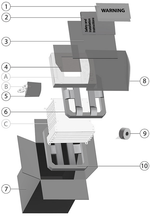
Products
A
SPRECON-E-PANEL (CP-2500 Keypad) product
B
SPRECON-E-PANEL (CP-2500 Touchpanel) product
C
Touchpen for CP-2500 product
D
Cables for CP-2500 product
E
Power supply PS-300x for CP-2500 product





